🏦 Get Your Mortgage or Real Estate Services Seen on Every Listing

Thousands of buyers and investors explore commercial, residential, and business listings every day on LoopingCloud.
Promote your mortgage services or real estate business directly on each listing by state, boost your visibility and connect instantly with serious prospects ready to take the next step.

Offer Your Real Estate Services Today Get started Offer Your Mortgage Services Today Get started
Published on: Friday, November 1, 2024
Updated on: Friday, November 1, 2024
About the Lister
User Profile Image
Name: Tom Cervone
Company: CR Properties Group, LLC
Office Phone: 845-485-3100 x3
Cell Phone:  
Provide Your Service
Financing  Business  Material

  Commercial Building / Development Parcel

4200 Albany Post Road Hyde Park New York , 12538
4200 Albany Post Road Hyde Park New York                                                                                            , 12538  CR Properties Group, LLC
Listing ID: CL-New York-12654 Free Standing /Retail

Purchase Option

Acquisition Option: Traditional Purchase
Cap Rate (%): Contact Lister
Net Operating Income: Contact Lister
Quick Glance
Listing ID: CL-New York-12654
Status: Accepting Offers
Financing: Third Party Financing
Occupancy: N/A
Year Build: N/A
Building Size: 2,880.00 SqFt
Lot Size: N/A
No of Stories: N/A
No of Parking: N/A
Offer to Millionaire Club: No
Business Available for Sale: No
Is Net Lease Investment: No
Property On Ground Lease: No
Building Status: Existing
Attached Documents
Listing Summary
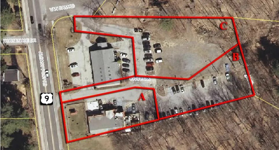
Lot Info: [A] - 4200 Albany Post Road [B] - 4202 Albany Post Road [C] - 3 Van Dam Road
Complete Details
Year Build: N/A
Building Size: 2,880
No of Stories: N/A
Total Lot Area: N/A SqFt.
No of Parking: N/A
No of Total Units: N/A
Property Current Status: Normal Sale
Building Status: Existing
Heating and Cooling: Not Specified
Building Class: Not Specified
Property on Ground Lease?: No
Net Lease Investment?: No
Business Price Included?: No
Roofing: Not Specified
Occupancy: 0%
Full Description
Property Description U.S. Route 9, Hyde Park, NY 12538 Lot Info: [A] - 4200 Albany Post Road [B] - 4202 Albany Post Road [C] - 3 Van Dam Road Acreage: [A] 0.35 ± Acres [B] 0.52 ± Acres [C] 0.57 ± Acres 1.44 ± Acres Total Frontage: [A] U.S. Rte 9 / Albany Post Rd - 87.1’ [B] U.S. Rte 9 / Albany Post Rd - 25’ Location Description U.S. RT 9 / Albany Post Rd near Franklin D. Roosevelt and Vanderbilt Mansion National Historic Sites Area Traffic Count: CR 40A / St Andrew Road to CR 41 / E Market Street - 20,163 AADT
Additional Properties
Property Highlights
  • Commercial Building
  • Development Parcel
  • Intercept Location
  • 2,880 +/- SF Existing Building (To Be Confirmed)
  • U.S. RT 9 / Albany Post Road
  • TCHD, Town Center Historic Zoning District
Listing Location
Lister's other Properties
Address: 146 Old Route 9 , Fishkill New York 12524
Listing ID: CL-New York-26750
Listing Type: Commercial +Lease
Category: Industrial - Industrial Condo
Status: Price not Disclosed
Created On: 10/31/2025
Modified On: 10/31/2025
146 Old Route 9 , Fishkill New York                                                                                             12524
Address: 106 Pierces Rd , Newburgh New York 12550
Listing ID: CL-New York-26749
Listing Type: Commercial +Lease
Category: Industrial - Industrial Condo
Status: Price not Disclosed
Created On: 10/31/2025
Modified On: 10/31/2025
106 Pierces Rd , Newburgh New York                                                                                             12550
Address: 15 W Dorsey Ln , Hyde Park New York 12538
Listing ID: CL-New York-26748
Listing Type: Commercial +Lease
Category: Land - Commercial
Status: Price not Disclosed
Created On: 10/31/2025
Modified On: 10/31/2025
15 W Dorsey Ln , Hyde Park New York                                                                                             12538
Address: 103 Executive Dr , New Windsor New York 12553
Listing ID: CL-New York-26747
Listing Type: Commercial +Lease
Category: Office - Office Condo
Status: Price not Disclosed
Created On: 10/30/2025
Modified On: 10/30/2025
103 Executive Dr , New Windsor New York                                                                                             12553
Address: 40 Cannon St , Poughkeepsie New York 12601
Listing ID: CL-New York-26745
Listing Type: Commercial +Lease
Category: Office - Office Condo
Status: Accepting Offers
Created On: 10/30/2025
Modified On: 10/30/2025
40 Cannon St , Poughkeepsie New York                                                                                             12601
⚠ Disclaimer

LoopingCloud is a social listing portal that connects real estate professionals, service providers, buyers, and sellers. All property information, descriptions, availability, financial details, and any offerings under financial services, business services, and material services are provided by the respective lister or service provider and are not independently verified by LoopingCloud. While believed to be accurate, the information is provided “as is” without any representations, warranties, or guarantees of any kind. LoopingCloud does not endorse, warrant, or verify the quality, accuracy, or reliability of any property details or services provided through the portal. Interested parties are encouraged to independently verify all information and consult with qualified professionals before making any decisions.

Property Currently Unavailable

This property has been temporarily inactivated by the realtor and is no longer available for viewing.

You can continue browsing other active listings from this realtor.


or explore other properties by category.